Jeu de direction 1 1/8 fileté avec réducteur pour fourche de 1 pouce
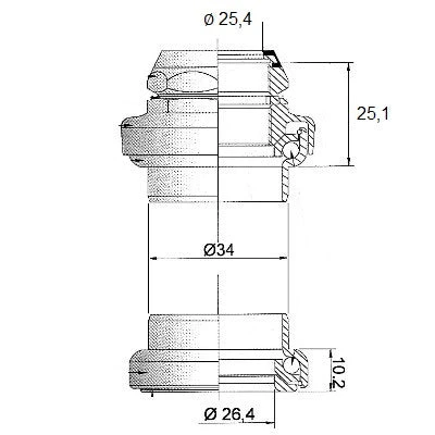
Ce jeu de direction s’installe entre la douille de direction et le tube de fourche. Il convient aux pivot de fourche 1″ (25,4mm) avec filetage et de diamètre interne de 22.2 mm (égal au diamètre extérieur du plongeur de la potence 1 pouce). Il est conçu pour se monter sur la douille de direction d’un cadre de vélo d’un diamètre interne de 34 mm, équivalent au standard 1 pouce 1/8.
Pour ne pas faire d’erreur, nous vous conseillons de contrôler les dimensions de votre ancien jeu de direction. En effet le diamètre des cuvettes de cadre et de la bague de fourche peuvent être différente pour un jeu de direction de 1 pouce.
Vous pouvez y fixer une butée de gaine de frein ou une butée de gaine de frein chromée avec levier pour un bon maintien du câble lors du pédalage.
Jeu de direction pour pivot de fourche fileté
La bague de fourche possède quant à elle un diamètre de 26,4 mm. Grâce aux rondelles plastiques placées sur la partie haute des cuvettes, les roulements sont protégés de la poussière et de l’humidité.
Avant l’assemblage des nouvelles pièces, veillez à bien nettoyer le cadre vélo avec un dégraissant. Une clé pour jeu de direction est utile pour le remontage des parties filetées. De plus pour faciliter l’assemblage des cuvettes dans le cadre, nous vous conseillons de suffisamment enduire les pièces de graisse anti oxydation. Elle a également pour effet de stopper les bruits de craquements.
Découvrez aussi la clé pour jeu de direction et notre gamme d’outils vélo pour l’entretien de votre cycle.















Avis
Il n’y a pas encore d’avis.